Skip to main content

Exclusive: Russian Navy to deploy tethered drones against Ukraine’s kamikaze USVs.


Russia’s Murmansk Arctic University received a patent for a shipborne fiber-optic multicopter turret designed to defend warships against Ukrainian unmanned surface vessels.

On September 16, 2025, the Russian Murmansk Arctic University obtained a patent for a shipborne turret system designed to store, deploy, and operate multicopter drones connected by fiber-optic cables. The system replaces conventional radio communication with optical data transmission to ensure stable command and video links under conditions of electronic interference or GPS spoofing. Developed primarily for Russian warships, the system is intended to provide localized aerial surveillance and protection against Ukrainian unmanned surface vessels, enhancing close-range situational awareness in contested maritime zones such as the Black Sea and Arctic regions.
Follow Army Recognition on Google News at this link

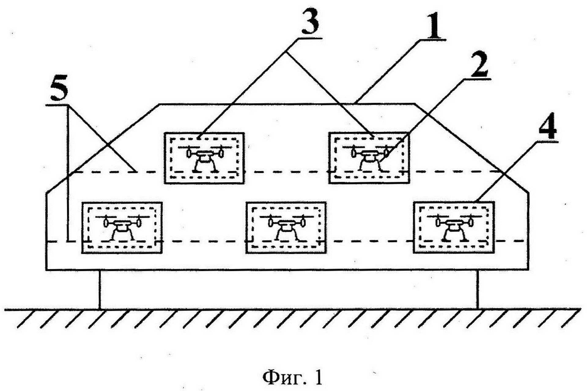
When sensors detect an approaching unmanned vessel, the crew can open selected hatches, extend the drones onto the open lids, and launch them directly from the deck. (Picture source: Murmansk Arctic University)


The system is built around a turret installed on a ship’s deck, with multiple hermetically sealed openings on its frontal surface. Each opening is covered by a downward-opening lid that reveals a conveyor belt inside the structure, oriented toward the aperture. The conveyors are fitted with sockets or clamps designed to hold the multicopters securely, either as independent fixtures or as part of the multicopters themselves, which can interlock to form a stable structure. When a threat is detected, such as an approaching unmanned boat, the ship’s system activates a specific number of openings, allowing the conveyors to advance the drones onto the lids for immediate launch while remaining connected to the ship via fiber-optic cables. This process enables direct, interference-resistant control and real-time imaging without reliance on radio frequencies.

The fiber-optic control system is designed to address common weaknesses in short-range drone defense, such as radio-frequency (RF) jamming, Global Navigation Satellite System (GNSS) spoofing, and communication latency that can occur during close-in maneuvers. By transmitting commands and video through optical cables rather than wireless signals, the operator maintains a stable connection and real-time visual feed that remains unaffected by broadband RF interference. The physical tether also sets a defined operating perimeter around the ship, preventing loss of control or external signal hijacking. In use, the multicopters could hover alongside the hull to monitor areas near floating barriers or fenders, observe the wake for possible trailing craft, or fly at low altitude ahead of the bow to detect small, low-profile threats that radar may not capture. The system is intended to integrate with the vessel’s combat information center (CIC), linking data from lookouts, electro-optical/infrared (EO/IR) sensors, and surface-search radars to support coordinated situational awareness and defense.

The system, titled “Shipborne launch vehicle for multicopters,” is intended to preserve drones in an operational state even during long deployments. The sealed turret protects stored multicopters from weather, salt corrosion, and deck vibrations, allowing readiness for rapid use. The clamp and conveyor mechanism ensures firm retention during ship movement and controlled release during launch, preventing physical interference such as blade collisions or cable entanglement. The fiber-optic link provides a secure and interference-free channel for transmitting commands, telemetry, and imagery, which is particularly relevant in conditions of high electromagnetic activity or deliberate jamming. Each drone’s operation range is naturally limited by the tether length, ensuring its activity remains within the ship’s immediate defensive perimeter. The concept thus enables continuous localized surveillance and the deployment of drones to track and assess potential threats such as unmanned boats or low-altitude aerial targets.

The timing of this patent corresponds with Russia’s attempts to respond effectively to the growing threat posed by Ukrainian unmanned surface vessels (USVs), which have significantly influenced naval operations in the Black Sea since 2022. Ukraine began employing USVs in late 2022, launching a series of attacks that included the October 29 Sevastopol raid, the November 2022 strike on Novorossiysk port, and subsequent operations at sea. Notable incidents included the May 24, 2023, attack on the Russian intelligence ship Ivan Khurs, the July 17, 2023, “Sea Baby” strike that damaged the Kerch Bridge, the August 4, 2023, hit on the landing ship Olenegorsky Gornyak, and the February 2024 sinking of the landing ship Tsezar Kunikov. Additional cases involved damage to the tanker Sig on August 5, 2023, and the disabling of the Samum-class hovercraft on September 14, 2023, with further incidents suggesting possible mine-laying or indirect USV activity, such as the loss of the Pavel Derzhavin.

Over time, Ukrainian sea drones evolved from small, jet-ski–based prototypes to specialized military designs with extended range, payload capacity, and communication resilience. The Magura V5, for example, features a 320 kg warhead, a top speed of over 40 knots, and an operational range of approximately 450 nautical miles, using both radio relays and satellite communication systems for control. The larger “Sea Baby” variant, operated by Ukraine’s Security Service, can carry up to 850 kg of explosives and has demonstrated effectiveness against hardened targets such as bridges and amphibious ships. By late 2024, Ukrainian engineers had introduced modifications allowing USVs to deploy aerial drones, launch unguided rockets, and even fire repurposed air-to-air missiles such as the R-73 and AIM-9 Sidewinder, reportedly used against Russian helicopters and aircraft over the Black Sea. The establishment of the 385th Separate Naval Drone Brigade in 2023 institutionalized these efforts within Ukraine’s armed forces.

Russian countermeasures have included the installation of layered defensive barriers in key ports like Sevastopol and Novorossiysk, the relocation of vessels to less exposed bases, and the constant deployment of patrol craft and helicopters for surface surveillance. Electronic warfare units have been tasked with disrupting the communication and navigation systems of Ukrainian USVs, while ship crews have implemented improvised protections such as tires, nets, and chains along hulls to mitigate damage from direct hits. These efforts have reduced but not eliminated the risk, as even a single successful USV strike can cause disproportionate damage. Therefore, the patent accorded to the Murmansk Arctic University system fits into this broader defensive framework, by proposing a self-contained platform that allows ships to detect, monitor, and potentially counter unmanned threats under electronic interference conditions.


Written by Jérôme Brahy

Jérôme Brahy is a defense analyst and documentalist at Army Recognition. He specializes in naval modernization, aviation, drones, armored vehicles, and artillery, with a focus on strategic developments in the United States, China, Ukraine, Russia, Türkiye, and Belgium. His analyses go beyond the facts, providing context, identifying key actors, and explaining why defense news matters on a global scale.


Copyright © 2019 - 2024 Army Recognition | Webdesign by Zzam