Breaking news
Russian blogger leaks blueprints of future Armata armored tanker.
On October 18, 2023, a Russian military blogger leaked on VK the blueprints of a new Russian armored tanker based on the Armata platform. As a reminder, this modular platform is the base for multiple future Russian armored vehicles, including the T-14 Armata tank, the T-15 Infantry Fighting Vehicle (IFV), the T-16 recovery vehicle, and the 2S35 Koalitsiya-SV self-propelled howitzer.
Follow Army Recognition on Google News at this link
Specialists have designed an armored tanker based on the T-15 "Armata" heavy infantry fighting vehicle platform, blueprints of which have been leaked on VK (Picture source: Vitaly Kuzmin and VK)
According to the publication, the blueprints come from the Russian Military Academy of Logistics, named after Army General Khrulev, where specialists have designed an armored tanker based on the T-15 "Armata" heavy infantry fighting vehicle platform. This development addresses the need for delivering fuel to the front lines even under challenging conditions, including exposure to heavy enemy fire and kamikaze drones.
The design of this new armored tanker is outlined in a utility model patent, offering a detailed description of its features. One distinctive aspect of this vehicle is its unique internal arrangement, with the fuel tank and technological equipment securely positioned inside the armored hull. Within the vehicle's structure, the crew and control systems are contained within an isolated armored capsule, separated from the rest of the vehicle by an additional armored bulkhead. The engine compartment is also separated from the processing equipment by an armored bulkhead. This design is believed to enhance the vehicle's survivability, particularly in situations involving multiple impacts on its armor.
To bolster the vehicle's defensive capabilities, the developers have introduced the concept of new armor steel with ceramic inserts, resulting in a multilayered armor configuration. The inclusion of ceramic inserts is designed to enhance the vehicle's protection. When a projectile impacts the armor, the ceramic element within it is designed to disintegrate. As the ceramic elements disintegrate, they create movement within the armor, redirecting the axial shock impulse into an impulse within the plane of the armor. This mechanism aims to improve the vehicle's ability to withstand projectile impacts.
The proposed application for this armored tanker is within the Armed Forces of the Russian Federation and other relevant law enforcement agencies. Its intended use is focused on the safe and efficient transportation and refueling of technical equipment in regions characterized by active combat operations, where the adversary employs large-caliber weaponry and other heavy weapons.
You can find below the blueprints with their legend translated, but respecting the original spelling.

Fig.1: Armored fuel tanker on Armata platform: 1 - hull; 2 - track; 3 - support roller; 4 - hatch (Picture source: VK)

Fig.2: Armored fuel tanker rear view, where it is labeled: 1 - hull; 2 - track; 4 - hatch; 6 - rear door. Fig.5: Arrangement of technical equipment inside the armored fuel tanker rear view, where it is labeled: 1 - hull; 2 - track; 4 - hatch; 6 - rear door; 11 - pump; 12 - filter; 13 - counter; 14 - drum; 15 - dispensing hose; 16 - technical pipeline.(Picture source: VK)

Fig.3: Armored fuel tanker top view, where it is labeled: 1 - hull; 4 - hatch; 5 - opening; 6 - rear door. (Picture source: VK)

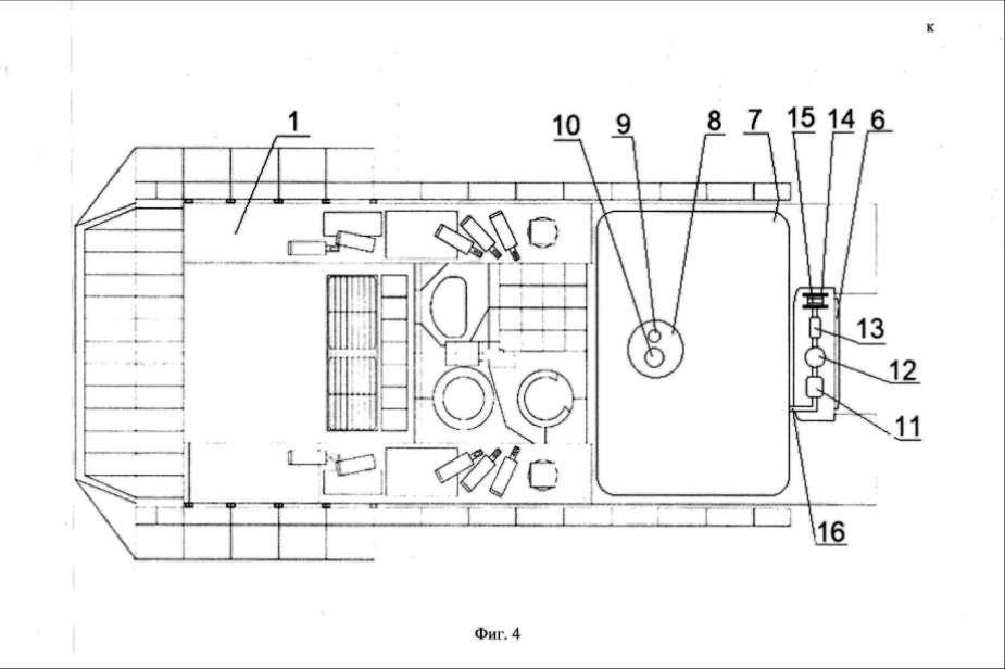
Fig.4: Arrangement of technical equipment inside the armored fuel tanker top view, where it is labeled: 1 - hull; 6 - rear door; 7 - tank; 8 - filler neck; 9 - mechanical breathing valve; 10 - neck cap; 11 - pump; 12 - filter; 13 - counter; 14 - drum; 15 - dispensing hose; 16 - technical pipeline. (Picture source: VK)